Startseite
Zangen und Scheren
Vornschneider
Vornschneider / Rabitzzange
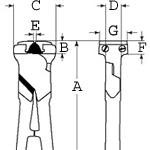
Vornschneider, Rabitzzange, 230 mm
Vornschneider, Rabitzzange, 230 mm, 1519 D
Kategorien
- EXTRANEWS 2026
- Abzieher
- Akku und Druckluftwerkzeuge
- Arbeitsschutz
- Bits und Bohrer
- Drehmomentwerkzeuge
- Edelstahl-Werkzeuge und Ausrüstung
- Elektronik- und Feinmechanikwerkzeuge
- Elektrowerkzeuge und Zubehör
- Farbschaber, Spachtel und Kellen
- Feilen
- Funkenfreie Werkzeuge
- Garage/Kfz Werkzeuge
- Garten und Forstwerkzeuge
- Hämmer
- Holzbearbeitungswerkzeuge
- Isolierte Werkzeuge
- Kälte- und Klimatechnik
- Meissel und Durchtreiber
- Messer und Cutter
- Messwerkzeuge
- Metallzerspanungs-Werkzeuge
- Schraubendreher
- Rollgabel- Schraubenschlüssel
- Steckschlüsseleinsätze und Zubehör
- Werkstattleuchten
- Werkbänke und Schraubenstöcke
- Werkstattwagen und Werkstatteinrichtungen
- Werkzeugkoffer und Taschen
- Zangen und Scheren
- Seitenschneider
- Seitenschneider, verchromt
- Vornschneider
- Rabitzzangen
- Kabelschneider
- Abisolierzangen
- Kombinationszangen
- Flachrundzangen
- Flachrundzangen, gekröpft
- Flachzangen
- Justier-, Connector- , Muttern-, und Schlauchschneidezangen
- Elektronik- und Feinmechanikzangen
- Wasserpumpenzangen
- Rohrzangen
- Drahtwirelzangen
- Greif- und Schweisszangen
- Sicherungsringzangen
- Bolzenschneider
- Blechscheren
- Nietzangen
- Crimpzangen
- Montagezangen
- Werkzeug für Kunststoff Kabelbinder
- Präzisionszangen








